MVD型单锥干燥机具有独特的非常柔和的混合干燥的特点,甚至对机械力非常敏感的物料也不会破坏,干燥后的产品质量与初始产品一样好。然而,需要的驱动力确很小。能够达到的高真空确保需要干燥的温度很低(对于热敏性物料的优势非常明显),良好的传热性能和极短的干燥时间,同时需要的能耗很低。
MVD型螺旋式单锥真空干燥机适合于批次干燥以下类型的产品:
- 颗粒状的结晶产品
- 甚至在低温下也会变性的热敏性产品
- 来自于压滤机或离心机的有毒的和/或易氧化的产品
特点:
- 完全悬臂安装的变距混合干燥螺旋
- 对物料的搅拌柔和,搅拌翻料性能良好
- 机械剪切力小
- 高精度、良好的混合性能和生产重复性
- 装料量灵活性大(10%到100%),不会影响产品质量
- 排料干净彻底,无物料残留
- 在线清洗(CIP)彻底,排液干净
- 完全密闭,避免污染
- 干燥时间短,能耗低
- 对工人、产品和环境都非常安全

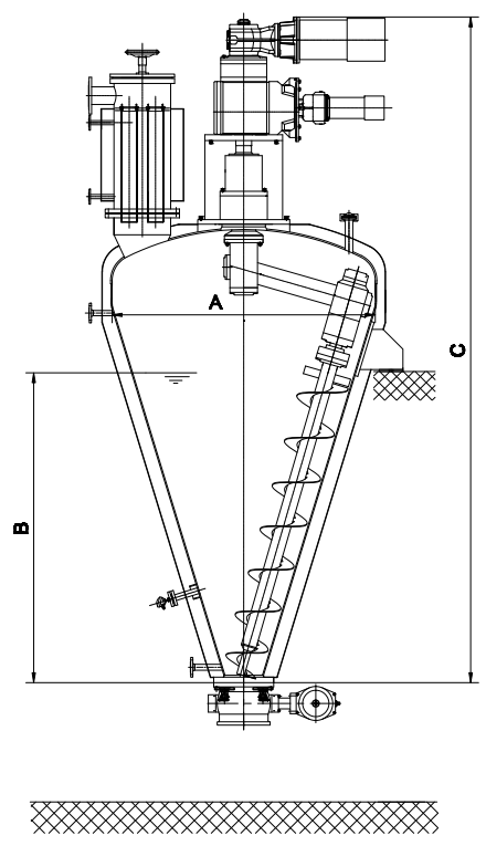
| MVD型单锥干燥机规格型号表 | |||||
| 型号 | 总容积 | 产品体积 | A | B | C |
| MVD200 | 170 | 70 | 700 | 700 | 1600 |
| MVD700 | 680 | 320 | 1100 | 1280 | 2200 |
| MVD1000 | 1020 | 520 | 1250 | 1500 | 2630 |
| MVD2000 | 2050 | 1020 | 1600 | 1880 | 3150 |
| MVD4000 | 4450 | 2000 | 2100 | 2350 | 3750 |
| MVD7000 | 7300 | 3600 | 2400 | 2880 | 4400 |
| MVD10000 | 9800 | 5000 | 2700 | 3200 | 5200 |
如果您有任何问题,反馈或意见,请填写下面的表格,我们会尽快回复您。
青岛市即墨区华硕路60号
© 2022 青岛帝威精工机电有限公司版权所有 鲁ICP备09064072号-10 技术支持:海诚互联